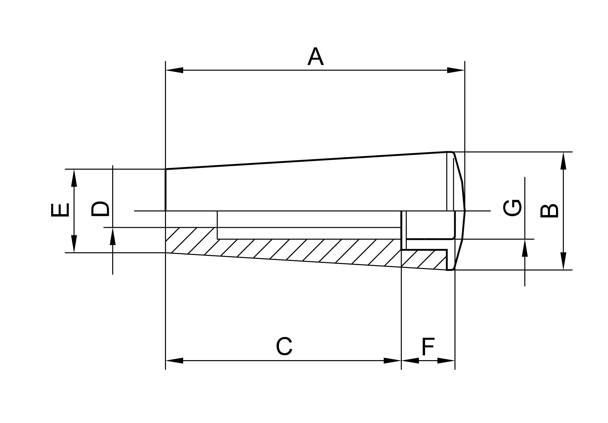
MF.GRIP WITH THROUGH HOLE
| CODE | ITEM | A | B | C | D | E | F | G | PCS BOX |
|---|---|---|---|---|---|---|---|---|---|
| EMMF840010 | MF/84/FLP - D10 | 84 | 30 | 67 | 10 | 20 | 13 | 20 | 50 |
| EMMF840012 | MF/84/FLP - D12 | 84 | 30 | 67 | 12 | 20 | 13 | 20 | 50 |
MATERIAL
Thermoplastic with a high mechanical resistance.
Heat resistant materials or materials with other resistance grades are available upon demand.
CAP
Thermoplastic with a high mechanical resistance.
COLOUR
Black. Wide range of colours available for suitable quantities.
CERTIFICATIONS