PV1.PIEDINO A VENTOSA CON PERNO FILETTATO
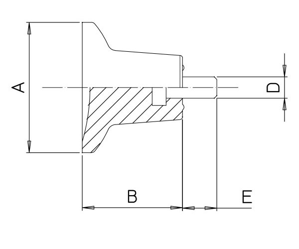
| CODE | ITEM | A | B | D | E | PCS BOX |
|---|---|---|---|---|---|---|
| EMPV450810 | PV1/45/V - M8x10 | 46 | 35 | M8 | 10 | 100 |
| EMPV450815 | PV1/45/V - M8x15 | 46 | 35 | M8 | 15 | 100 |
| EMPV450820 | PV1/45/V - M8x20 | 46 | 35 | M8 | 20 | 100 |
| EMPV450825 | PV1/45/V - M8x25 | 46 | 35 | M8 | 25 | 100 |
| EMPV450830 | PV1/45/V - M8x30 | 46 | 35 | M8 | 30 | 100 |
MATERIALE
Elastomero Termoplastico ad elevata resistenza meccanica.
VITE
Acciaio Zincopassivato.
Possibilità di viti Inox – Ottone – Nylon.
Per impieghi specifici possono essere forniti volantini con vite, prigionieri, aste a disegno.
COLORE
Nero. Vasta gamma di colori a richiesta per quantità adeguate.
CERTIFICAZIONI